BIMINI ALU BROSSÉ 2 ARCEAUX BLEU ORANGEMARINE 130 (largeur) x 110 (hauteur) x 180 (longueur) cm - BLEU
84€98
BIMINI ALU BROSSÉ 2 ARCEAUX BLEU ORANGEMARINE 130 (largeur) x 110 (hauteur) x 180 (longueur) cm - BLEU
Avantages du produitaddremove
Toile amovible
Sa toile est complètement amovible, pratique pour l’hivernage !
Protection
Le bimini OrangeMarine est idéal pour vous protéger du soleil à bord lors de vos mouillages ou lors de navigation lente.
Garantie
Les biminis OrangeMarine sont garantis 2 ans.
Descriptifaddremove
Le bimini 2 arceaux Orangemarine est idéal pour vous protéger du soleil à bord lors de vos mouillages ou lors de navigation lente. Sa structure est constituée de tubes en aluminium anodisé et d'un tissu polyester enduit traité anti-UV.
Le bimini pour bateau à moteur 2 arceaux se met en place facilement à chaque début de navigation et se met à plat en fin de navigation. Sa toile est complètement amovible pour l’hivernage et la housse de protection protège votre bimini replié.
Astuces:
- Si vous souhaitez que votre bimini reste en position haute avec la toile fermée en fin de navigation, il vous faut rajouter deux supports de biminis.
- Attention, il faudra penser à acheter également les colliers adaptés aux supports.
Le bimini est livré avec un ensemble d'accessoires permettant de fixer, maintenir, et replier votre bimini.

- Largeur :Elle correspond à la largeur où vous souhaitez mettre les supports à encastrer. Vous pouvez jouer sur environ 5% : une largeur de bimini 170 cm conviendra parfaitement pour une largeur de bateau comprise entre 160 et 180 cm. Sur le croquis, lettre A
- Longueur : Il s'agit de la longueur dépliée, à vous de choisir quelle partie du bateau vous souhaitez couvrir. Les embouts femelles encastrés sur le bateau sont situées à la moitié de la longueur. Il faut imaginer le bimini ouvert pour voir la surface qu'il va couvrir. Sur le croquis, lettre C.
- Hauteur : Il s'agit de la hauteur à partir à partir des fixations. Il vous faut tenir compte de la hauteur comprise entre le pont du bateau et la hauteur du bimini. Cela vous donnera la hauteur totale du bimini une fois installé. Exemple: Imaginons un bimini posé sur les côtés du bateau avec 80cm en plus entre le départ du bimini et le pont (= sol où vous avez les pieds) alors il vous faut prendre une hauteur de 110cm pour avoir une hauteur hors tout (= maximale) de 110cm+ 80 cm = 190 cm. Sur le schéma, lettre B.
À noter:
- Dans le cas où vous ne vous sentez pas capable de monter votre bimini, n’hésitez pas à vous rapprocher d’un professionnel.
- Plusieurs tailles sont disponibles (Largeur x Hauteur x Longueur = A x B x C)
Pièces détachées :
- Référence 45024 : Support à encastrer
- Référence 45025 : Embout mâle
- Référence 45022 : Embout connecteur
- Référence 45023 : Embout orientable
- Référence 45020 : Connecteurs
Etape 1 : Dépliez votre bimini et enlevez la housse de protection.


Etape 2 : Montage du produit sur votre bateau
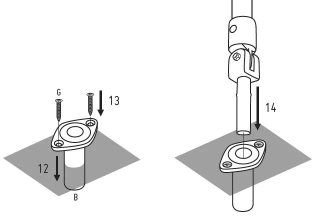
Pour cette étape, il faudra vous munir d'une perceuse avec une mèche de diamètre 16. Percez deux trous de 50 mm de profondeur au niveau que vous le souhaitez. Venez encastrer les embouts mâles avec du mastic pour éviter les infiltrations d'eau.



Etape 3 : Fixation des pontets et des sangles de maintien.

Étape 4: Démontage du taud : Pour hiverner votre bateau, nous vous conseillons d'enlever le taud. Pour cela, repliez le bimini et "dé-zippez" les fermetures éclaires au niveau des arceaux.

Vous ne souhaitez pas percer votre bateau et vous avez au moins 10 cm de bord de bateau plat ou vous avez un bateau pneumatique ?
- Vous pouvez coller une ventouse qui permettra de venir clipser votre bimini
- Il vous faut dégraisser la ventouse et le bord du bateau (mettre la ventouse et dessiner au crayon sur le bateau l'emplacement à préparer) avec le l'acétone ou de la lessive "Saint Marc".
- Poncer au grain 120 la ventouse et l'emplacement marqué sur le bateau.
- Enlever la poussière
- Encoller la ventouse et le bateau, et attendre que la colle soit sèche au touché. Renouveler l'opération une seconde fois.
- Mettre en contact la ventouse sur le bateau et maintenir fermement avant de poser un poids et laisse prendre 24h.
À noter: Les biminis Orangemarine sont garantis 2 ans.
- Cette garantie s’applique pour les tissus et coutures du taud ainsi que pour les arceaux.
- Cette garantie ne s’applique qu’aux défauts matériels et de fabrication. La garantie n’est pas applicable en cas de déchirure ou de détérioration consécutive à un accident, à une utilisation anormale ou à une installation inappropriée.
Informations Techniques
| Couleur du bimini | Disponible en blanc et bleu marine |
| Diamètre du tube aluminium | 20 mm |
| Toile | Polyester enduit |
Questions / réponsesaddremove
Le bimini 2 arceaux Orangemarine est idéal pour vous protéger du soleil à bord lors de vos mouillages ou lors de navigation lente.